产品中心
您的位置:产品中心 【返回上一页】
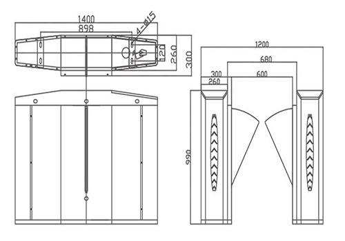
翼闸RJ-Y602
技术参数:
工作电源:AC220V±10%V 50±10%HZ。
输入接口:(无源节点信息号、或脉宽)100MS的低电平脉中信号。
通讯接口:RS232串口接口。
驱动电机:DC24V电机。
通行方向:单向或双向通行。
IP防护等级:42。
相对湿度:≤90%,不凝露。
开、关闸时间:1秒。
上电系统启动时间:3秒。
通行人数:40人/分钟。
正常使用寿命:400万次。
机箱材质:国产标准304不锈钢。厚度:国标2.0mm。
净通道宽尺寸:通道宽600mm。




上海容家智能科技有限公司
沪公网安备 31011502016929号