上海容家智能科技有限公司
电话:021-50311598
Q Q:2271918202
邮箱:shrjzn@163.com
地址:上海市浦东新区敬业路425号

产品中心

您的位置:产品中心 【返回上一页】

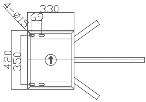
三辊闸RJ-S602

技术参数:
工作电源:AC220V±10%V,50HZ±10%HZ。
通行方向:单向或双向通行。
IP防护等级:42。
相对湿度:≤90%,不凝露。
开、关闸时间:不可调。
上电系统启动时间:1秒。
通行人数:30人/分钟。
正常使用寿命:400万次。
机箱材质:国产标准304不锈钢。
厚度:国标1.2mm~1.5mm。
净通道宽尺寸:标准通道宽500mm。